波纹补偿器也叫膨胀节,或称膨胀节。它由波纹管(一种弹性元件)和附件组成,波纹管是其工作的主体,附件包括端管、支架、法兰和导管。主要用于各种管道,可以补偿管道的热位移、机械变形和吸收管道的各种机械振动,起到降低变形应力和延长管道使用寿命的作用。波纹补偿器分为法兰连接和焊接。直埋管道补偿器一般采用焊接(管沟安装除外)。
特点:
1.补偿热膨胀:可以多方向补偿,比只能单方向补偿的金属补偿器好很多。
2.安装误差补偿:由于管道连接过程中系统误差不可避免,光纤补偿器更好地补偿安装误差。
3.消声减振:纤维织物和保温棉具有吸声、隔振和传递的功能,可有效降低锅炉、风机等系统的噪声和振动。
4.无反推力:因为主要材料是纤维织物,所以无法传递。使用光纤补偿器可以简化设计,避免使用大支架,节省大量材料和劳动力。
5.耐高温、耐腐蚀性能好:选用的氟塑料、有机硅材料耐高温、耐腐蚀性能好。
6.密封性能好:光纤补偿器具有相对完善的生产和装配系统,可确保无泄漏。
7.重量轻,结构简单,安装维护方便。
8.价格比金属补偿器低,质量比进口产品好。

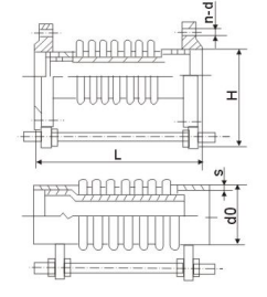
不锈钢波纹补偿器公称压力:1.0MPa
公称 通径 DN mm | 计算疲劳破坏次 数下轴向补偿量 Xomm | 补偿量 | 刚度 | 有效 面积 A cm2 | 径向 最大 外形 尺寸 Hmm | 接管端口 尺寸 doxS(mm) | 总长L (mm) | 总重W (kg) | ||||||||
1500 | 3000 | 15000 | 横 向 Yomm | 角向 Yθ度 | 轴向 Kx N/mm | 横向 KyN/mm | 角向 KθN x m/度 | 法兰连接 | 法兰 | 接管 | 法兰 | 接管 | ||||
80 | 30 | 25 | 18 | 6.4 | ±6.4 | 358 | 418 | 8.4 | 81 | 284 | φ89x4 | 244 | 344 | 10 | 3 | |
37 | 32 | 22 | 10 | ±8 | 286 | 214 | 6.7 | 274 | 374 | 10 | 3 | |||||
200 | 56 | 47 | 31 | 3.2 | ±5.3 | 288 | 3164 | 39 | 479 | 442 | φ219x6 | 244 | 344 | 25 | 17 | |
84 | 70 | 46 | 7.2 | ±8 | 192 | 9938 | 26 | 298 | 340 | 27 | 20 | |||||
250 | 63 | 53 | 36 | 4.8 | ±5.3 | 588 | 4371 | 128 | 769 | 497 | φ273x8 | 309 | 409 | 38 | 22 | |
95 | 80 | 53 | 10.8 | ±8 | 392 | 1295 | 85 | 387 | 487 | 43 | 27 | |||||
500 | 84 | 70 | 47 | 4.8 | ±4.6 | 728 | 9861 | 515 | 2445 | 790 | φ529x10 | 415 | 517 | 126 | 82 | |
126 | 105 | 70 | 10.8 | ±6.9 | 485 | 2922 | 343 | 515 | 615 | 138 | 93 | |||||
1000 | 58 | 46 | 28 | 1.2 | ±1.4 | 5540 | 495368 | 14861 | 9043 | 1286 | φ1020x10 | 552 | 278 | |||
115 | 92 | 56 | 4.6 | ±2.8 | 2770 | 61921 | 7431 | 692 | 348 | |||||||
230 | 184 | 112 | 19.2 | ±5.6 | 1385 | 7740 | 3715 | 1018 | 468 | |||||||
1500 | 46 | 36 | 22 | 0.4 | ±0.8 | 6090 | 1879309 | 32888 | 19384 | 1786 | φ1520x14 | 550 | 462 | |||
92 | 73 | 44 | 1.6 | ±1.6 | 3045 | 234914 | 16444 | 690 | 567 | |||||||
183 | 146 | 88 | 6.4 | ±3.2 | 1523 | 29364 | 822 | 1046 | 761 | |||||||
1800 | 45 | 35 | 22 | 0.4 | ±0.6 | 7140 | 262408 | 61228 | 27494 | 2066 | φ1820x14 | 550 | 547 | |||
89 | 71 | 44 | 1.6 | ±1.2 | 3570 | 328010 | 30614 | 690 | 665 | |||||||
178 | 142 | 88 | 6.4 | ±2.4 | 1785 | 41001 | 15307 | 1046 | 883 | |||||||
2000 | 53 | 42 | 25 | 0.4 | ±0.6 | 8785 | 3871980 | 91666 | 34636 | 2340 | φ2020x14 | 683 | 819 | |||
107 | 85 | 50 | 1.6 | ±1.2 | 4390 | 483998 | 45833 | 83, 3 | 927 | |||||||
214 | 170 | 101 | 6.4 | ±2.4 | 2195 | 60499 | 21917 | 1206 | 1164 | |||||||













